На что следует обращать внимание, при эксплуатации мембранного окрасочного агрегата высокого давления? Прежде всего на саму мембрану, её проверяют на наличие повреждений (трещин). Для этого необходимо демонтировать переднюю часть насоса, её еще называют передней частью блока клапанов, ступень краски и т. п. Демонтаж довольно прост, смотрите наглядную видео инструкцию.
Сомневаетесь в разборке агрегата? Для того чтобы этого не делать, можно вывинтить входной клапан и проверить присутствует ли масло в полости блока клапанов. Присутствие масла в полости ступени краски свидетельствует о повреждении мембраны. Для вас видео ниже:
Если же определить следов масла не удается, включите окрасочный агрегат, поверните регулятор давления по часовой стрелке (для увеличения давления масла, не забывайте агрегат работает под высоким давлением). Мембрана должна совершать колебательные движения, с легкостью ощутимые пальцем. Если во время работы в полости блока клапанов появилось масло, необходимо подтянуть винты крепления передней части блока клапанов, повторить процедуру запуска. Если подтяжка болтов не дала результатов и масло продолжает вытекать из гидропередачи - мембрану в агрегате необходимо заменить.
Бывают случаи, когда мембрана не совершает колебательных движений, это может свидетельствовать о малом количестве масла в гидропередаче. Масло могло вытечь через повреждение в мембране во время работы окрасочного агрегата. Уровень масла проверяется через специальное смотровое окно, однако, оно не всегда бывает достаточно чистое и определить уровень не представляется возможным. Рекомендуется перед началом работы заклеить его скотчем, тогда краска не сможет запачкать стекло окна (этот метод особенно полезен для аппаратов в защитном корпусе). Для проверки уровня вам надо будет снять скотч, стекло под пленкой будет чистым. Если через смотровое окно не удается определить уровень масла, необходимо открывать крышку гидропередачи.
Существует еще одна причина отсутствия работы (колебания) мембраны - выход из строя поршневой группы. Термин "зависание" поршня в одном положении, увеличение зазора между поршнем и цилиндром. Причиной "зависания" поршня может являться деформированная возвратная пружина; низкая температура окружающей среды, вызывающая сужение цилиндра.
"Зависание" поршня можно обнаружить следующим образом: поставить насос таким образом, чтобы блок клапанов находился в вертикальном положении, демонтировать переднюю часть блока клапанов и мембрану, поместить жало отвертки в отверстие для хвостовика мембраны, включить окрасочный агрегат. Если жало отвертки циклически движется вверх и вниз, повторяя движения поршня - работа поршня в норме, "зависание" отсутствует. Увеличение зазора между поршнем и цилиндром можно обнаружить только у агрегатов высокого давления, отработавших очень длительное время (десятки тысяч часов).
Если мембрана не повреждена, винты крепления корпуса плотно затянуты, уровень масла достаточен, поршень движется без "зависания", но мембрана не совершает колебательных движений, необходимо проверить регулятор давления.
В первую очередь проверяют крепление цилиндрической ручки регулятора на штоке регулятора. Ручка не должна проворачиваться вокруг штока, а проворачивать шток по часовой стрелке для увеличения давления (уменьшение пропускной способности масла через регулятор) или против часовой стрелки для уменьшения давления (увеличения пропускной способности масла через регулятор). Крепление ручки осуществляется двумя винтами, расположенными на ручке друг напротив друга. В случае, когда ручка поворачивает шток, но регулятор не изменяет пропускной способности масла, регулятор необходимо заменить, ремонт проводить не целесообразно.
Всасывающая система должна обладать герметичностью. Проверяют целостность шланга и плотность всех соединений, т.к. проникновение воздуха в систему не допустимо. Присутствие воздуха в системе может проявляться в виде пульсации жидкости, выходящей из дренажной линии при заполнении насоса; чрезмерной вибрацией шланга высокого давления; отсутствие давления жидкости или резкое падение давления при нажатии на курок пистолета; трудность при заполнении насоса.
Проверка клапанов в агрегате высокого давления.
Перед проверкой клапанов необходимо убедиться в их чистоте, т.к. остатки высохшей краски, металлическая или пластмассовая стружка, попавшая через всасывающую систему, и любые другие инородные предметы, мешают нормальной работе клапанов. Залейте небольшое количество воды (растворителя) в горловину клапана, включите окрасочный агрегат, увеличьте давление. Жидкость из горловины клапана должна поступать в насос и выходить из штуцера для шланга высокого давления. Однако, этот тест не свидетельствует о герметичности клапана.
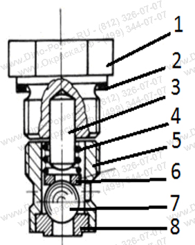
Рис.1: Входной клапан окрасочного агрегата высокого давления, где:

2- гайка;
3- шайба;
4- пружина;
5- направляющая;
6- кольцо уплотнительное;
7- седло;
8- шток с конусом клапана в сборе.
Для проверки входного клапана необходимо вывинтить его из блока клапанов и визуально проверить его состояние. На конусе клапана и седле не должно быть сколов и трещин. При обнаружении сколов на поверхности конуса, следует проверить состояние мембраны, т.к. отколовшаяся часть попадает в полость блока клапанов и повреждает мембрану.
Необходимо периодически осматривать состояние клапана, т.к. клапан является изнашиваемой частью насоса и требует периодической замены. Замена клапана в сборе не обязательна. Обычно, клапан в сборе меняется при обнаружении его поломки в процессе проведения окрасочных работ и времени на его ремонт нет. В этом случае, неисправный клапан должен быть очищен от остатков краски и помещен в емкость с растворителем или водой (в зависимости от типа краски) для избегания застывания краски и осложнения его ремонта в последствии.
Для ремонта входного клапана необходимо использовать специальный ремкомплект для ремонта мембранного окрасочного агрегата, в состав которого входят: гайка, шайба, пружина, конус со штоком, седло, обойма.
Если осмотр клапана не выявил наличия сколов металлических частей необходимо проверить его на герметичность следующим образом: открутите входной клапан, поместите карандаш тупым концом во входное отверстие, шток клапана должен опуститься, примерно, на 1,5 мм, в противном случае клапан засорен. Прочистите его щеткой и растворителем. Заполните клапан водой, держа его вертикально. Если вы обнаружите подтекание воды из клапана свидетельствует о плохой герметичности клапана. Если все проверки и/или ремонт входного клапана не дали результатов необходимо проверить работоспособность нагнетательного клапана.
Рис.2: Нагнетательный клапан в мембранном окрасочном агрегате высокого давления, где:

2 - уплотнение медное;
3 - штифт цилиндрический;
4 - пружина нагнетательного клапана;
5 - зажим седла клапана;
6 - опора пружины;
7 - шарик;
8 - седло нагнетательного клапана
Так же, как и в случае со входным клапаном, необходимо убедиться в чистоте и целостности частей клапана (пружины, опоры, шарика, седла). Если все части клапана в порядке и ничто не затрудняет ход пружины и шарика, неисправность агрегата будет заключаться в износе частей клапана. Необходимо заменить клапан в сборе или его внутренние части (пружину, шарик, опора, седло).
Для проверки герметичности клапана можно воспользоваться следующим способом:
Если из входного клапана будет выходить жидкость - это свидетельствует об отсутствии герметичности нагнетательного клапана, т.е. нагнетательный клапан не может держать давление жидкости и она сдерживается только входным клапаном. В токам режиме насос может набрать давление, но не сможет удерживать его во время процесса распыления, т.е., когда курок пистолета нажат. В этом случае клапан необходимо отремонтировать или заменить.
Необходимо следить и за состоянием резьбы "колодцев" для установки клапанов. Замятая или поврежденная резьба способствует протеканию жидкости и потери давления. Так же, через поврежденный колодец для установки нагнетательного клапана в насос может проникать воздух. Свидетельством этому является чрезмерная вибрация окрасочного шланга высокого давления во время распыления, а так же невозможность насоса достичь максимального давления. Устранить эту поломку можно только заменой передней части корпуса насоса. Можно попробовать герметизировать колодец фум-лентой, но это не всегда представляется возможным. Регулярно проверяйте состояние всех уплотнительных шайб и резиновых уплотнений.
Дренажный кран в окрасочном агрегате.
Дренажный кран должен перекрывать ход жидкости в дренажную линию. Если при закрытом кране жидкость продолжает поступать в дренаж, то это приведет к потере давления в процессе распыления. Предварительно можно выполнить процедуру промывки насоса через дренажную линию, заменить медную уплотнительную шайбу в посадочном колодце. Если эти действия не принесли результата - клапан заменить в сборе.
Остались вопросы, звоните:
Использование материалов сайта без письменного согласия правообладателя © OOO «Химбалт» не допускается (ст.1270 ГК РФ; т.1270 ГК РФ п.1п.1).